Вентиль стальной фланцевый 15с22нж Ду 50 мм (2 дюйма) Ру 40
- Описание
Купить клапан запорный (вентиль) стальной фланцевый 15с22нж Ду 50 Ру 40 в Хабаровске оптом или в розницу вы можете в компании «СНАБАРМАТУРА». Организация доставки в любой регион Дальнего Востока.
Прием заявок:
- Телефоны:
- E-mail: snabarmatura27@gmail.com
- Telegram: Отправить сообщение
Применение
Клапан запорный (вентиль) стальной фланцевый 15с22нж Ду 50 Ру 40 является базовым элементом запорной арматуры для магистральных трубопроводов среднего диаметра. Он широко востребован в промышленной энергетике, центральных тепловых пунктах (ЦТП) и на технологических линиях нефтехимических предприятий. Усиленный корпус позволяет надежно работать с перегретым паром и водой под давлением до 4,0 МПа.
Вентиль 15с22нж Ду 50 Ру 40 отличается высокой устойчивостью к гидроударам и температурным деформациям (до +425°C). Благодаря использованию нержавеющей наплавки на седле и графитовых уплотнителей сальника, клапан обеспечивает высший класс герметичности «А» и характеризуется длительным ресурсом работы в самых жестких эксплуатационных условиях.
Технические характеристики
| Типовая фигура: | 15с22нж |
|---|---|
| Диаметр условный (Ду): | 50 |
| Рабочее давление: | 4,0 МПа (40 бар) |
| Температура рабочей среды: | От -40°C до +425°C |
| Рабочая среда: | Вода, пар, неагрессивные жидкие среды |
| Тип присоединения: | Фланцевое (ГОСТ 33259-2015, исп. 1, ряд 2) |
| Управление: | Маховик |
| Класс герметичности: | По ГОСТ 9544-2015 — класс А |
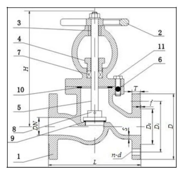
Спецификация материалов
| № | Деталь | Материал |
|---|---|---|
| 1 | Корпус | Сталь WCB |
| 2 | Маховик | Сталь Q235 |
| 3 | Гайка | Сталь WCB |
| 4 | Сальник | QT450 |
| 5 | Шток | Сталь 45 |
| 6 | Шпилька | Сталь А3 |
| 7 | Уплотнение | Графит |
| 8 | Диск | Сталь WCB |
| 9 | Седло | Нержавеющая сталь |
| 10 | Прокладка | Асбест |
| 11 | Гайка | Сталь А3 |
Габаритные размеры и вес
Основные параметры клапана 15с22нж Ду 50 Ру 40, необходимые для монтажа:
| Строительная длина (L), мм: | 230 |
|---|---|
| Строительная высота (H), мм: | 280 |
| Наружный диаметр фланца (D), мм: | 160 |
| Межболтовое расстояние (D1), мм: | 125 |
| Диаметр зеркала (D2), мм: | 99 |
| Толщина зеркала (f), мм: | 3 |
| Толщина корпуса у фланца (S), мм: | 7 |
| Толщина фланца (T), мм: | 19,5 |
| Количество отверстий (n), шт: | 4 |
| Диаметр отверстий (d), мм: | 18 |
| Вес изделия, кг: | 15,0 |
- Описание
Смотрите также
Осуществляем отправку заказов в города
- Хабаровского края (Комсомольск-на-Амуре)
- Приморского края (Владивосток, Уссурийск, Находку)
- Амурской области (Благовещенск)
- Якутии (Якутск)
- Сахалинской области (Южно-Сахалинск)
- Камчатского края (Петропавловск-Камчатский)
- Магаданской области (Магадан)
- Еврейской автономной области (Биробиджан)
и другие города Дальнего Востока.


