Вентиль (запорный клапан) стальной фланцевый 15с22нж Ду 32 мм Ру 40
- Описание
Купить клапан запорный (вентиль) стальной фланцевый 15с22нж Ду 32 Ру 40 в Хабаровске оптом или в розницу вы можете в компании «СНАБАРМАТУРА». Организация доставки в любой регион Дальнего Востока.
Прием заявок:
- Телефоны:
- E-mail: snabarmatura27@gmail.com
- Telegram: Отправить сообщение
Применение
Клапан запорный (вентиль) стальной фланцевый 15с22нж Ду 32 Ру 40 предназначен для эксплуатации на трубопроводах со средними объемами прокачки рабочей среды. Благодаря усиленному стальному корпусу, модель эффективно применяется в системах отопления, паропроводах и технологических линиях промышленных предприятий. Вентиль обеспечивает надежную отсечку потока воды или пара при рабочем давлении до 4,0 МПа.
Конструктивные особенности вентиля 15с22нж Ду 32 Ру 40 позволяют использовать его в условиях высоких температурных нагрузок (до +425°C). Сальниковый узел с графитовым уплотнением и нержавеющее седло гарантируют герметичность класса «А» и длительный межремонтный интервал, что критически важно для бесперебойной работы узлов управления инженерными сетями.
Технические характеристики
| Типовая фигура: | 15с22нж |
|---|---|
| Диаметр условный (Ду): | 32 |
| Рабочее давление: | 4,0 МПа (40 бар) |
| Температура рабочей среды: | От -40°C до +425°C |
| Рабочая среда: | Вода, пар, неагрессивные жидкие среды |
| Тип присоединения: | Фланцевое (ГОСТ 33259-2015, исп. 1, ряд 2) |
| Управление: | Маховик |
| Класс герметичности: | По ГОСТ 9544-2015 — класс А |
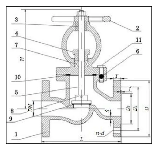
Спецификация материалов
| № | Деталь | Материал |
|---|---|---|
| 1 | Корпус | Сталь WCB |
| 2 | Маховик | Сталь Q235 |
| 3 | Гайка | Сталь WCB |
| 4 | Сальник | QT450 |
| 5 | Шток | Сталь 45 |
| 6 | Шпилька | Сталь А3 |
| 7 | Уплотнение | Графит |
| 8 | Диск | Сталь WCB |
| 9 | Седло | Нержавеющая сталь |
| 10 | Прокладка | Асбест |
| 11 | Гайка | Сталь А3 |
Габаритные размеры и вес
Основные параметры клапана 15с22нж Ду 32 Ру 40, необходимые для монтажа:
| Строительная длина (L), мм: | 180 |
|---|---|
| Строительная высота (H), мм: | 240 |
| Наружный диаметр фланца (D), мм: | 140 |
| Межболтовое расстояние (D1), мм: | 100 |
| Диаметр зеркала (D2), мм: | 76 |
| Толщина зеркала (f), мм: | 2 |
| Толщина корпуса у фланца (S), мм: | 7 |
| Толщина фланца (T), мм: | 16,5 |
| Количество отверстий (n), шт: | 4 |
| Диаметр отверстий (d), мм: | 18 |
| Вес изделия, кг: | 8,4 |
- Описание
Смотрите также
Вентиль чугунный фланцевый 15кч16п Ду 80 мм (3 дюйма) Ру 25
Вентиль чугунный фланцевый 15кч16п Ду 32 мм (1.1/4 дюйма) Ру 25
Осуществляем отправку заказов в города
- Хабаровского края (Комсомольск-на-Амуре)
- Приморского края (Владивосток, Уссурийск, Находку)
- Амурской области (Благовещенск)
- Якутии (Якутск)
- Сахалинской области (Южно-Сахалинск)
- Камчатского края (Петропавловск-Камчатский)
- Магаданской области (Магадан)
- Еврейской автономной области (Биробиджан)
и другие города Дальнего Востока.


